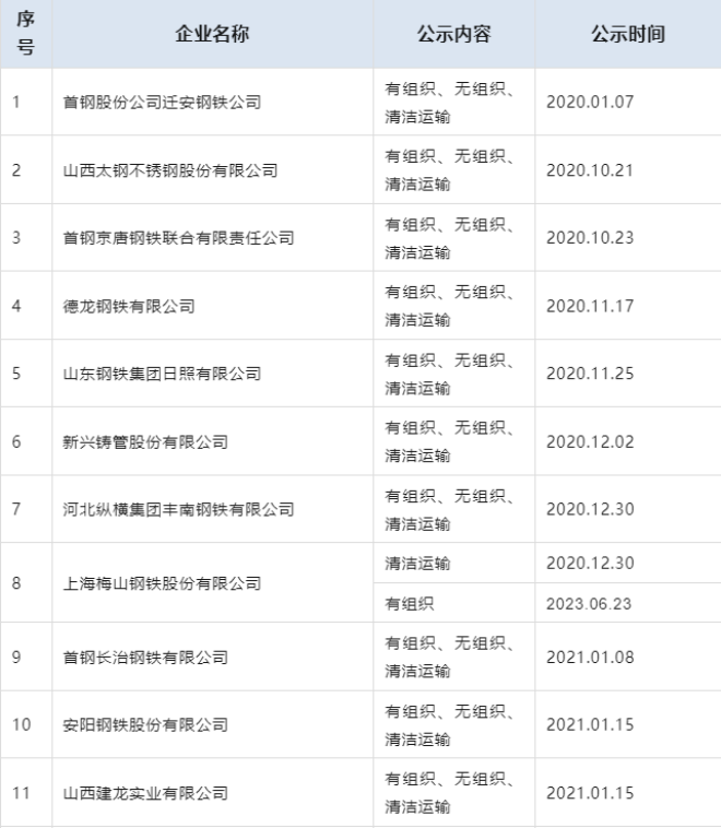
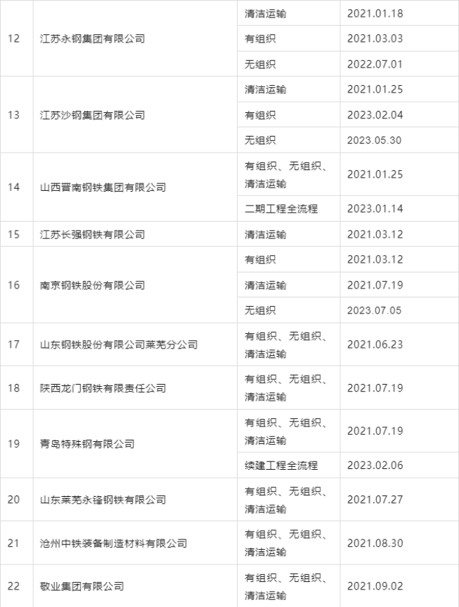
自2020年8月起,中國鋼鐵工業(yè)協(xié)會開展了鋼鐵企業(yè)超低排放改造和評估監(jiān)測進展情況公示工作。從中國鋼鐵工業(yè)協(xié)會網(wǎng)站獲悉,截至2023年7月11日,已有91家企業(yè)在鋼協(xié)網(wǎng)站進行公示。

已公示企業(yè)名單及公示內容整理如下——







已公示超低排放改造鋼企增至91家
2023-07-12 10:12:00








來源:中國鋼鐵工業(yè)協(xié)會
編輯:張雨恬
地址:北京市朝陽區(qū)安貞里三區(qū)26樓 郵編:100029 電話:(010)64442120/(010)64442123 傳真:(010)64411645 電子郵箱:csteelnews@126.com
中國冶金報/中國鋼鐵新聞網(wǎng)法律顧問:大成律師事務所 楊貴生律師 電話:010-58137252 13501065895 Email:guisheng.yang@dentons.cn
中國鋼鐵新聞網(wǎng)版權所有,未經(jīng)書面授權禁止使用 京ICP備07016269號 京公網(wǎng)安備11010502033228